Samsung Electronics, merek terkenal di industri teknologi, saat ini diketahui sedang mengembangkan kemasan daur ulang untuk produknya yang dapat digunakan secara berulang-ulang. Kabar tersebut dipastikan keakuratannya karena raksasa teknologi asal Korea Selatan itu telah mengajukan paten.
Apa yang dilakukan Samsung patut diapresiasi. Pasalnya, dengan menggunakan kemasan daur ulang untuk setiap produknya, maka mereka akan mampu mengurangi polusi dan juga sampah produksi sehingga lingkungan tidak akan terancam keselamatannya.
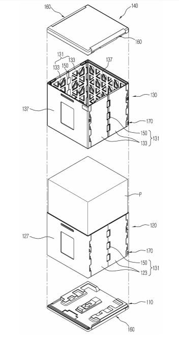
Tampilan Kemasan Samsung
Dilansir dari Gizmochina (02/02/20), Samsung mengajukan paten dengan judul “kotak kemasan yang dapat digunakan kembali” dengan tampilan kemasan yang menggabungkan bantal bagian dalam dan lapisan pelindung luar.

Umumnya, produk elektronik besar seperti lemari es dikirim dalam kotak kardus besar dengan styrofoam di bagian dalam sebagai bahan yang dapat mencegah benturan keras yang dapat merusak produk yang ada di dalamnya.
Meski styrofoam terbukti mampu melindungi produk dari kerusakan, styrofoam tetap memberikan efek buruk, khususnya pada lingkungan karena penggunaannya yang sekali pakai dan tidak bisa langsung dihancurkan. Biasanya ketika produk sudah dibuka, maka styrofoam akan dibuang begitu saja.
Dengan kata lain, styrofoam ini akan menciptakan limbah tambahan dan akan mencemari lingkungan dalam jangka panjang. Styrofoam sendiri merupakan bahan yang tidak dapat diurai secara hayati sehingga melihat fakta yang demikian itu, pihak Samsung pun berinisiatif untuk membuat kemasan daur ulang yang lebih ramah lingkungan.
Penggunaan Hanya Tinggal Tunggu Waktu Saja
Penggunaan kemasan daur ulang ini hanya tinggal menunggu waktu saja. Alasannya, Samsung telah dipengaruhi oleh banyak faktor, salah satunya adalah peraturan pemerintah tentang limbah di negara Korea Selatan.
Perlindungan lingkungan dan pengurangan polusi yang disebabkan oleh perusahaan besar, terutama dalam industri elektronik, telah menjadi perdebatan besar selama beberapa dekade. Pemerintah di sana mengimbau perusahaan-perusahaan besar untuk menggunakan kemasan yang lebih ramah lingkungan.
Baca juga: 7 Gadget Terbaru yang Akan Dirilis di Samsung Galaxy Unpacked 2020
Melihat peraturan pemerintah setempat yang menginginkan hal tersebut, maka penggunaan kemasan daur ulang oleh Samsung tinggal menunggu waktu. Dan ketika Samsung benar-benar menerapkannya, maka lingkungan akan menjadi lebih aman. Selain itu, biaya yang dikeluarkan Samsung untuk membuat kemasan produk pun bisa lebih rendah dan hemat.
